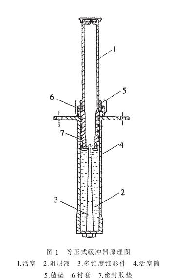
一、等压式缓冲器
其结构见图1。它与飞机起落架缓冲器结构原理相似。它由活塞、活塞筒及多锥度锥形件组成。活塞筒内充入一定体积和适当配比的甘油、酒精混合液体,此种阻尼液具有粘度容易调节及在低温环境下不冻结的优点。剩余容腔充以一定预压力的气体。活塞与活塞筒之间由胶圈密封。在活塞下端开设有流液孔。

二、冲击台原理
其整机结构见图3。它由塔架、冲击台而、等压缓冲器和自动释放机构等部分组成。当载有试件的冲击台而提升到指定高度H时,自动释放机构突然释放,冲击台而便沿轨道垂直跌落并与底部缓冲器的活塞相碰,由于胶垫与缓冲器的制动作用,冲击台而的速度急剧减小,在压缩行程中产生方向朝上的冲击加速度。

实际上,冲击台而跌落的整个过程可分为跌落与冲击两个过程。跌落过程:负荷沿轨道垂直跌落时,实际要受空气阻力与轨道摩擦力的作用,若适当调整接触方式,这些阻力可以忽略不计。

解此方程可得x与t的关系式,由此可知缓冲阶段负荷与活塞系统进行衰减振动。实际上在碰撞阶段产生一脉冲加速度),在缓冲阶段产生一宽脉冲加速度),整个过程的加速度为矢量合成曲线。http://www.zhsysb.net